天工での学習にチャレンジの解答・解説

第19問
(12月25日掲載)

 ご存知のように、「ねじ」はほとんどの機械で部品と部品の締結用に使われています。機械と切っても切り離させないねじについて、皆さんはどのようなことを知っていますか。
 機械以外にも例えば自宅において、壁に絵画を取り付けたり、カーテンレールを取り付けたりするのにも使われるなど、あまりにも身近にあり過ぎて「急にねじと言われても・・・」と、ピンとこないかもしれませんね。ねじは、漢字では「螺子」と書き、英語ではscrew(スクリュー)と綴りますが、このねじについて、機械科では2年生になってから、種類、原理、製図での表記法など様々な角度からみっちり学習します。
 今日は本校の2年生の希望者が受験をしている工業英検4級の試験問題の中に、ねじを取り扱った問題を見つけましたので、さっそく解いてみましょう。
 次の英文の和訳として適切なものを1~4の中から1つ選びなさい。

  Turn the screw clockwise until the valve is completely closed.
  ① バルブが完全に閉まるまでねじを右回りに回してください。
  ② バルブが完全に閉まるまでねじを左回りに回してください。
  ③ バルブが閉じるまでドライバーを時計に合わせて回してください。
  ④ バルブが閉じるまでドライバーを反時計まわり回してください。

正解 ① バルブが完全に閉まるまでねじを右回りに回してください。

解説
 まず文の構造を眺めてみましょう。真ん中付近にuntilがあります。このuntilは名詞や語句などの前に置かれる前置詞、主語と動詞がそろった文の前に置いて文と文を繋ぐ接続詞、この2つの用法がありますが、どちらも「~まで」と訳します。
 この英文は、untilの後に、the valve(主語)とis closed(動詞)があるので接続詞です。そして、動詞の部分が『be動詞+過去分詞』の形をとっているので、受動態(~される)に注意しながら訳す必要があります。completelyは中学校では勉強しない難しい単語になりますが、「十分に」という意味の副詞です。同じ意味の易しい単語であるfullyは知っていましたか?そして、closeは大丈夫ですよね。「近い」という形容詞、「終わり」という名詞の意味もありますが、ここでは勿論、「閉める」という動詞です。従って後半の英文は、「バルブが十分に閉められるまで」という意味になります。
 次にuntilの前の前半部分を見てみましょう。この文は、Turn(回す)という動詞の原形から始まっているので、命令形ですよね。従ってTurn the screw で「screw(ねじ)を回しなさい」となります。clockwise はちょっと難しい単語です。副詞で「時計回りに」とか「右回りに」という意味です。ちなみに、反対語の「反時計回りに」とか「左回りに」ならcounterclockwiseとなります。counter- は「逆○○」「対○○」などの意味を作る接頭語です。ボクシングで、攻撃のため前に出て来た相手にパンチを打つこと(カウンターブロー)とか、球技やゲームなどで敵の攻撃の隙を突き逆襲に出ること(カウンターアタック)とか言いますよね。
 随分長くなりましたが、以上の解説で、「バルブが完全に閉められるまでねじを右回りに回してください」となるのはいいでしょうか?それをもとに自然な日本語になるように工夫してみてください。そういうことで、答えは1になります。
 最後に、3や4の和訳にあるドライバーについて補足をしておきます。ねじ回しのことを日本語ではドライバーと称しますが、これは和製英語です。英語でdriverと書いたら勿論、運転者の意味になります。ねじ回しは screwdriverと綴ります。
 英語の構造や単語の意味を長々と解説をしましたが、実はこの問題、機械の常識的なセンスがあれば、そんな知識がなくても解答にたどり着くことができるオマケみたいな問題と言ってもいいかと思います。「あれ、ねじってどっち回しで閉まるんだったっけ?」とか言っている人は機械科にはいないはずですので。勿論、扇風機の羽止めや草刈り機の歯止めなど左回りに回して閉めるねじ(左ねじ)もありはしますが・・・。
 ということで、英文の構造や単語の意味が分かって正解したあなたも、そんなのが分からずに正解したあなたも機械科で学ぶ基本的なセンスがあるとみました。本校の機械科でさらに深く学んで「機械のプロ」を目指しましょう。

補足
 工業英検は、正式名称を工業英語能力検定といい、日本工業英語協会が運営している英語検定の一つになります。工業英語の専門家としての実務能力を有しているレベルの1級から、工業高校、高等専門学校低学年程度の工業英語知識を有しているレベルの4級まで(準2級を加えて)5段階あります。4級は全てマークシート形式で、この問題のように英文の和訳を4択から選んだり、単語の意味を問う3択問題、適語補充、英文同士を繋いだりする問題からなり、200点満点で6割相当に当たる120点以上で合格になります。
 本校では昨年度まで2年生が全員受験していましたが、今年度から希望者のみが受験をするようになりました。今年度は先日11月20日(日)に本校を受験会場として試験が行われ、2年生8人が受験をしました。何と!機械科の生徒がそのうち6人を占めており、英語の資格取得に果敢に挑戦する意欲のある生徒が機械科にたくさん顕在することを見せつけました。この問題はその中の1問になります。



第18問
(12月17日掲載)

 冬休みが間近になり、お家でゆっくりと過ごす時間が長くなる季節になりました。高校受験が迫って勉強一筋という人もいれば、1,2年生はお気に入りのホットドリンクとともに冬の読書を楽しむ人も多いのかもしれません。集中してより良く本を読むため、照明選びもこだわりたい・・・というのは中学生にとっては贅沢かもしれませんが、技術が進みLEDの照明が普及するなど、生活シーンに応じて様々なおしゃれな照明器具も増えていることを実感している人は多いことでしょう。
 ということで、今回の電気科からの出題は、第2種電気工事士試験から照明に関する問題です。   

 霧の濃い場所やトンネル内等の照明に適しているものは次のどれか。次の解答群から選びなさい。

 ①ナトリウムランプ
 ②ハロゲン電球
 ③水銀ランプ
 ④蛍光ランプ

正解 ①ナトリウムランプ

ヒント
 熊本方面に向かう際に、高規格道路に乗ったことがある人はきっと多いはずです。有明から乗るとすぐにトンネルに入りますが、両サイドの照明灯は蛍光ランプの光である白色をしていますか?違いますよね。ということで④はすぐに外すことができるとして、残る3つからの選択は少々難しいかもしれません。(*^_^*) そこで、さらにヒントです。
 金属を燃やすと色々な色が炎に付きますが、これを炎色反応と言います。実は、花火のきれいな色も火薬に金属の粉を混ぜているからです。(炎色反応について詳しいことは、高校の理科で実際に燃やして色を確かめる実験をします)
 この炎色反応は実験室内だけでなく身近でも見られます。たとえば、鍋を加熱したままにしていて味噌汁などが吹きこぼれると、青かったガスバーナーの炎が鮮やかなオレンジ色になります。これは食塩の中に入っている○○○○○の炎色反応によるものです。このことを踏まえて考えてみてください。トンネルの内に設置されている照明灯の色は何色でしょうか。

解説
 ナトリウムランプは、ナトリウム蒸気中のアーク放電による発光を利用したランプのことで、ナトリウム灯とも呼ばれています。実用光源のなかでは最も発光効率が高いのですが、色の見分けができないなど一般用途の照明には不適なことから主に道路やトンネルの照明などに用いられます。この用途では、むしろオレンジ色の単色光であることが、視認性向上などで有利とされています。
 勿論、ヒントの中にあった○○○○○はナトリウムという言葉が入ります。

 この問題は第2種電気工事士試験筆記問題に頻繁に出題されています。この試験は国家試験ですので、正解したあなたはプロの電気工事士としての能力があるとみました。本校の電気科でさらに深く学んで「電気のプロ」を目指しましょう。


  ついでに他の照明についても簡単に説明しておきます。
 ハロゲン電球は、電球内部に封入する窒素やアルゴン等の不活性ガスに、ハロゲンガス(主にヨウ素、臭素など)を微量入れたもので、不活性ガスのみを封入する通常の白熱電球よりも明るいのが特徴です。自動車等の前照灯(ヘッドライト・フォグランプ)や店舗のダウンライトなどに用いられます。ハロゲンランプが光る原理は白熱電球と同じで、内部のフィラメントに通電し、これを白熱させた際の発光を利用します。フィラメントが白熱する際の温度が高いので、一般の白熱電球より明るく光ります。


 水銀ランプは、ガラス管内の水銀蒸気中のアーク放電により発生する光放射を利用した光源で、工場や倉庫で最も多く使用されています。高圧水銀灯と低圧水銀灯に分れ、通常水銀灯と呼ぶときは前者を指します。


補足
 蛍光灯は、教室や勉強机のデスクランプにも広く使われるなど私たちにとって最も身近な光源ですが、放電で発生する紫外線を蛍光体に当てて可視光線に変換するという作動原理まで知っている中学生は少ないと思います。
 もう少し詳しく説明すると、電極(陰極)に電流を流すと加熱され、高温になったエミッタから大量の熱電子が放出されます。放出された電子はもう片方の電極(陽極)に移動し、放電が始まります。この放電により流れる電子がガラス管の中に封入されている水銀原子と衝突します。すると水銀原子が電子のエネルギーを受け、紫外線を発生させます。発生した紫外線はガラス管内に塗布されている蛍光物質に照射され、可視光線が発生する、これがその作動原理です。白熱灯と比べると、同じ明るさでも消費電力を低く抑えられることから、学校の教室やオフィスの照明として広く使われていましたが、水銀の使用と輸出入を2020年以降規制する「水銀に関する水俣条約」が批准されたことを受け、国内においては新築のオフィスビルなどを中心に全館LED照明を採用する事例も増えています。



第17問
(12月10日掲載)

 皆さんは、「測量」と聞いて何をイメージしますか。江戸時代に西洋の測量技術を使って正確な日本全図を作った伊能忠敬でしょうか、それとも工事現場で筒みたいなのを覗(のぞ)きながら何か作業をしている方のお姿でしょうか。
 本校の土木科では、そのような測量について深く学習します。次の問題は、測量技術者に求められる難関国家試験である測量士補(そくりょうしほ)からの出題です。
 次のa~eの文は、公共測量に従事する技術者が留意しなければならないことについて述べたものである。このうち明らかに間違っているものはどれか選びなさい。

 a 局地的な大雨による増水事故が増えていることから、気象情報に注意しながら作業を進めた。
 b 作業を行うために貸与された図書、関係資料などは、丁寧に扱い損傷しないよう努める。
 c 山頂に埋設してある測量標の調査を行ったが、標石を発見できなかったため、掘り起こした土を埋め戻し、周囲を清掃した。
 d A市が実施する水準測量において、すべて市道上での作業となることから、道路使用許可申請を行うことなく作業を実施した。
 e 作業実施中に樹木の伐採が必要となった場合は、あらかじめ障害となる樹木の所有者又は占有者の承諾を得て行う。

正解 d A市が実施する水準測量において、すべて市道上での作業となることから、道路使用許可申請を行うことなく作業を実施した。

解説
 a  観測員等の生命の安全を守ることは、最優先で配慮されなければなりません。
 b  常識的なことです。特に個人情報は慎重を期して取り扱う必要があります。
 c  これも常識的なことかもしれませんが、作業後は、現状復旧をすることが原則です。
 d × 道路を測量や工事などで使用する場合には、たとえ公共工事のための測量であっても道路使用許可(道交法第77条:所轄の警察署長の許可)と道路占用許可(道路法第32条:道路管理者の許可)の2つの機関から許可を得る必要があります。
 e  全ての物には所有者がいます。公共事業だからと言って、所有者に無断で処分してよいと言うものではありません。また、公共事業が全てに対して優先されるわけでもありません。

 測量士補は、測量業者に従事して測量を行うために必要となる国家資格です。名前に「補」とあるように、測量業者の行う測量において測量士の補佐を行う技術者に求められる資格です。
 この試験は、毎年5月中旬頃に実施されています。年齢、性別、学歴、実務経験などに関係なく誰でも受験ができます。法規、多角・水準測量など8つの科目から出題され、いずれも5択のマークシート方式で行われます。計算を要する問題も含まれますが、計算機は使うことができません。合格は28問中18点以上です。合格率は年によってばらつきがありますが、大体30%前後で推移しています。ちなみに、2016年(平成28年) 13,278人受験して、4,767人が合格し、合格率は35.9%でした。
 今回の問題は法規分野からの出題になります。「難関資格と言いながら意外と簡単だな~」と思った方も多いかもしれませんが、コメンナサイ!中学生の皆さんでも常識的に解けるような問題ばかりを寄せ集めて編集してあります。従って、ここにあるような問題も含まれるといったイメージで捉えてもらうといいでしょう。
 ところで、この難関国家試験に本校から4年連続合格者が出ています。今年度は土木科2年の松崎寛君(有明中出身)が合格して、右の写真のとおり横断幕を掲げて地元の皆様にPRしているところです。
 正解したあなたは測量のプロとしての能力があるとみました。本校の土木科でさらに深く学んで「本当の測量のプロ」を目指しましょう。






第16問
(12月2日掲載)

 今回は皆さんの身近にある空気に関する問題です。
 問1
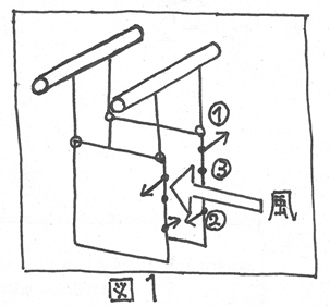
 図1のように薄い紙を少しの隙間を作って2枚吊るします。その間にストローで風を送り込んだとき、2枚の紙はどのような動きをするのでしょう。①~③で選んでください。
  ①2枚の紙が離れていく
  ②2枚の紙が近づいていく
  ③2枚とも動かない
 問2
 先ほどの空気の流れでものが引き寄せられる現象を利用しているものは次のうちどれでしょうか。①~③で選んでください。
  ①自転車
  ②蛍光灯
  ③バイク

問1正解 ② 2枚の紙が近づいていく


問1解説
 皆さん正解できましたか?実は2枚の紙は互いに近づく方向に動くのです。これは「ベルヌーイの定理」という定理に基づいた動きです。空気や水といった流動するものを「流体」と呼びますが、流体が速い速度で動くとき、そこには「負の圧力(ものを引き寄せる力)」が生じます。この負の力によって2枚の紙は互いに近づいていくんですね。

問2正解 ③ バイク

問2解説
 バイクの燃料噴出の仕組みにこの仕組みが使われています。「キャブレター」という部品なのですが、ガソリンと空気を混ぜてエンジンに送り込む役割を果たす部品です。
 図2のように管の途中に横からもうひとつの管が連結し、ガソリンが縦向きの管のほうに満たされています。このとき、横向きの管に速い速度で空気を流すと、ガソリンが引き寄せられて霧状に噴射します。実は霧吹きの原理なのですが、このようにして空気とガソリンを混合させて燃焼させ、バイクは動力を得ているのです。
 現在、自動車では「インジェクション」という電子制御方式の燃料噴霧器のほうが主流ですが、バイクではまだキャブレター方式が主流です。機械科ではこのようにバイクや自動車の仕組みなども勉強しています。興味のある人はぜひ一緒に勉強しましょう。

 この問題は機械科の原動機に関する問題です。正解したあなたは機械科のプロとしての能力があるとみました。本校の機械科でさらに深く学んで「原動機のプロ」を目指しましょう。



第15問

(11月24日掲載)

 次の文章は、アプリケーションプログラムの説明です。説明に適する語句の組み合わせで正しいものを①~④の中で選んでください。
 (ア)キーボード等から入力した文字を、漢字やかなに変換する機能を用いて文章作成が容易に行える。
 (イ)製品説明用に開発されたもので、研究発表などに用いられる。
 (ウ)データをワークシート(表)中のセルに入力することで、プログラムを作成することなく集計や、統計処理が行える。

 ① (ア)日本語ワードプロセッサソフトウェア (イ)表計算ソフトウェア (ウ)プレゼンテーションソフトウェア
 ② (ア)表計算ソフトウェア (イ)日本語ワードプロセッサソフトウェア (ウ)プレゼンテーションソフトウェア
 ③ (ア)プレゼンテーションソフトウェア (イ)表計算ソフトウェア (ウ)日本語ワードプロセッサソフトウェア
 ④ (ア)日本語ワードプロセッサソフトウェア (イ)プレゼンテーションソフトウェア (ウ)表計算ソフトウェア

正解 ④  (ア)日本語ワードプロセッサソフトウェア (イ)プレゼンテーションソフトウェア (ウ)表計算

解説
 アプリケーションソフトウェアは、特定の作業に使用されるソフトウェアのことで、応用ソフトウェアとも呼ばれます。ワープロや表計算など、どの業種でも使用されるソフトウェアから、ある業種で使用されるソフトウェアまで多種にわたります。単にアプリとも言われます。アプリという言葉ならよく耳にしますよね。

 この問題は情報技術検定試験3級の問題です。この検定は、1年生の1月に全科の生徒が受検します。現代の社会では、どのような仕事でも情報技術に関する基礎的な知識が必要となるためです。また、情報技ソフトウェア術科では2年生の1月に同じ検定試験の2級を受検し、さらに幅広い知識の習得を目指します。正解したあなたは情報技術のプロとしての能力があるとみました。本校の情報技術科でさらに深く学んで「ITのプロ」を目指しましょう。    



第14問
(11月15日掲載)

 機械科と土木科では、共通した分野の学習をします。例えば、流体力学や設計などです。
 流体力学では、小さな力で大型機械を動かすためにパスカルの原理を学習したり、管内の圧力を測定するマノメーターやベルヌーイの定理を学習したりします。
 さて、問題です。設計分野では、どちらの科も「モーメント」という言葉が出てきます。「モーメントなんて、聞いたことがないよ」という皆さん!小学校の理科で、てこの原理を習ったはずです。覚えていますか?
 (力)×(支点からの腕の長さ)が両側で等しければてこは釣り合うとか習いましたよね!
 この「(力)×(支点からの腕の長さ)」のことをモーメントと言うのです。要するに、物体を回転させる力と考えればよいでしょう。
 このモーメントに関して、機械科ではスパナでナットを回す力などを、土木科では橋の上を車が通過するときに掛かる力などを調べます。その大きさは、小学校の理科と同じで、次の式で求めます。
 モーメント=力×距離
 でも、科によって決まり事に2つの大きな違いがあります。一つは、機械科は㎜単位、土木科はm単位で計算するのが一般的です。もう一つは、何だと思いますか。

正解は『回転しようとする力の向きです』

解説
 機械科は、時計回りに回転しようとする力を(-)、反時計回りを(+)で扱います。これに対して、土木科は、全く逆で、時計回りに回転しようとする力を(+)、反時計まわりを(-)で扱います。
 工業高校の中では、色々な科に分かれて学習しますが、難易度にバラツキこそありますが情報や電気についてなど共通して学ぶ分野がたくさんあります。基礎・基本をきちんと身に付けると、様々な進路選択が可能となります。

 この問題は機械、土木に関する問題です。正解したあなたは機械関係としても、土木関係としてもプロとしての能力があるとみました。本校の機械科または土木科でさらに深く学んで「工業のプロ」を目指しましょう。       



第13問

(11月8日掲載)

 金、銀、銅といえば、オリンピックのメダルですが、電気を一番通しやすいのはどれでしょう?
 ① 金
 ② 銀
 ③ 銅

正解 ② 銀

解説
 電気を通しやすい物質は、電流を流すまいとする抵抗が小さいということになります。抵抗が1番小さいのは銀、2位は銅、3位は金という順位です。ですから答えは、銀です。

 
ちなみに、長さ1[m]、断面積1[m2]の金、銀、銅の抵抗は、銀 1.47 × 10-8Ω、銅 1.72 × 10-8Ω、金 2.05 × 10-8Ωとなっています。

 ところで、中学校の理科でもアルミニウム、鉄、金、銀、銅などの金属は電気をよく通し、ガラス、木、プラスチック、ゴムなどの非金属やプラスチックは電気を通さないと学習しますよね。でも、「電気を通しやすいとはどういうことか?」となると、本校も含めた高校レベルでは「自由電子が多いから」といった理由で簡単に片づけてしまいますが、本当は大変奥深く、大学に入ってから学びます。 正直、かなり難しいのでここで簡単に説明はできません。(ご興味がある場合は、最低、大学初等レベルの数学と化学の知識を身につけたうえで「固体物理学」と書いてある書籍をあたることをお勧めします)
 
もう一つ付け加えるなら、本校の電気科の生徒たちはあと2つ金属を加えて、「金、銀、銅、鉄、アルミニウムを電気が伝わりやすい順に並べろ」といったレベルで勉強をしています。
 答えは「銀、銅、金、アルミニウム、鉄」の順番になります。銀、銅、金は電気を通しやすい三強です。金属の中でも鉄は電気を通しにくい部類に入り、アルミニウムは金と鉄の間にきます。この5つの金属の大小関係を覚えておけばほとんど大丈夫ですので是非覚えておいてください。
        


 この問題は電気に関する基礎的な問題です。正解したあなたは電気関係のプロとしての能力があるとみました。本校の電気科でさらに深く学んで「電気のプロ」を目指しましょう。



第12問

(8月30日掲載)

 現在、日本国内ではたくさんの自動車が活躍しています。天草でも非常に多くの自動車を見かけますよね。では、日本国内ではどれだけの自動車が活躍しているのでしょうか。下記の解答群から解答を選びなさい。  
 ① 約4500万台
 ② 約7800万台
 ③ 約1億台

正解 ② 約7800万台

解説
 2015年現在、日本国内では乗用車約6100万台、トラック約1500万台、バス23万台、特殊車両170万台の合計で約7800万台の自動車が活躍しています。
 日本の人口は2015年現在で約1.3億人ですから、2人につき1台以上の自動車があることになります。まさに「自動車大国日本」ですね。

 ところで、将来、自動車整備士になりたいと、機械科に入学してくる生徒は多いです。そのような方は、3年生になり希望すれば「自動車工学」という選択科目を履修する(学ぶ)ことができます。この教科書には、エンジンやブレーキ、シャーシ(車台)等の技術的なことを学ぶ前に、まずは自動車の歴史や現状について基本的なことを押えておこうという趣旨で設けられた第1章があり、この問題はその中から作問したものです。
 ちなみに皆さんは世界最大の自動車の生産国はどこか知っていますか。アメリカと思いますか。それとも日本でしょうか。
 何と答えは中国です。中国で突出した台数が生産され、2013年(平成25年)の世界の自動車生産台数の4台に1台は中国で生産されています。この知識は覚えておいて損はありません。
 (日本国内での自動車生産台数は、1980年には約1千万台に達し米国を上回り、1991年には過去最高の約1325万台を生産したが、以降は1千万台前後で推移しています。2009年(平成21年)には中国が1379万台で2位日本の793万台を大きく引き離し、世界最大の自動車生産国になりました。2013年は中国が2212万台、米国1105万台、日本963万台、ドイツ572万台、韓国、452万台、・・・となっています)

 話は変わりますが、この「自動車工学」を勉強して機械科を卒業しても自動車整備士の資格は取れません。念のため!
 自動車整備士になるには、高校卒業後に専門学校などに進み2級自動車整備士の資格を取り、自動車販売・整備関係の会社(ディーラーなど)に就職する方法が一般的でした。しかし最近では、専門学校の卒業生を入社させるよりも、高校卒の生徒を現場で一からたたき上げで育てて自動車整備士にしたほうが優秀な整備士に育つという考えのもと、ディーラーから「自動車整備」の業務指定で求人が舞い込むようになりました。
 仕事をしながら整備士の資格取得のための勉強をしなければならないので非常に大変ですが、その大変さを乗り越えたエンジニアのほうが会社に貢献すると、求人担当者の方が話して行かれました。このような新たな動きがあることは着目すべきことで耳よりなニュースかもしれません。

 この問題は自動車に関する基礎的な問題です。正解したあなたは自動車関係のプロとしての能力があるとみました。本校の機械科でさらに深く学んで「自動車(機械)のプロ」を目指しましょう。



第11問
(8月22日掲載)

 地球上の水の量は、どのくらいあると思いますか?
 また、実際に、私たちが使える水は、全水量のどれくらいだと思いますか?下記の解答群から適切な組み合わせの解答を選びなさい。              

解答群
地球上の水の量
使える水の割合
14億km3
80%
12億km3
80%
14億km3
20%
12億km3
20%
14億km3
 1%未満


正解 ⑤ 14億km3 ,1%未満

解説
 地球上の水の量は14億㎞3と言われています。このうち海水が97.5%。淡水は、2.5%しかありません。
 しかし、淡水の70%は、南極やグリーンランドの氷で、私たちが利用可能な地下水や河川・湖沼の水は、淡水の30%しかなく、地球上の水の量から考えると0.8%しかないことになります。
 土木技術者は土木技術を駆使して、ダムを造って水を蓄えたり、上下水道を整備したりして、効率的な水の利用を考えているのです。

 この問題は土木基礎力学の問題です。その中で水理学の基礎といわれる内容です。この教科は土木構造物及び土と水の基礎力学に関する知識と技術を習得するのが目標です。正解したあなたは土木のプロとしての能力があるとみました。本校の土木科でさらに深く学んで「プロの土木技術者」を目指しましょう。

ところで皆さん、1km3(1立方キロメートル)の水の量って想像できますか?モチロン、一辺が1キロメートルの立方体の体積が1立方キロメートルなんですが・・・(-_-;)
 では、25mプールの約何杯分だと思いますか。次の3つの中から、直感でどうぞ。
 ①2000万杯分  ②200万杯分  ③20万杯分


【答えと解説】答え②
 容量は、25m×幅×深さで求められます。プールの幅や深さは様々ですが、よく見受ける8コースあるプールだとすると、1コースの幅を2mとすると8コースで8×2m=16mになります。深さも浅い部分と深い部分がありますが、平均して仮に1.3mとして計算すると、プールの容量は次のようになります。
 25mプールの容量=25m×幅×深さ=25m×16m×1.3m=520m3(立方メートル)
 次に、1km3の体積をm3に単位換算します。一辺が1km=1000mの立法体だから、
1km3=1000m×1000m×1000m=1000000000m3(10億立法メートル)
 従って、1000000000m3÷520m3=1923076
 ということで、大雑把に四捨五入して、25mプールの約200万杯分ということになります。これで少しは1km3のとてつもない大きさが想像できるでしょうか?
 ちなみに、車で天草から熊本に行くとき、国道266号線や57号線で左手に有明海を臨みながら走っていきますが、この九州北西部にある福岡、佐賀、長崎、熊本の4県にまたがる九州最大の湾である有明海(平均水深20m)の体積はどの位だと思いますか。
 NPO法人有明海再生機構のHPによると34km3なんだそうです。
 余談になりますが、昔、「日本一の高さの富士山で日本一の広さの琵琶湖を埋め立てたらどちらが先になくなるか」という問題が「山梨県クイズ」にありました。(答え:琵琶湖です。富士山[体積は約1400km3]は、琵琶湖の約50杯分あるのだそうです)



第10問
(8月10日掲載)

 写真に示す器具の名称はなんでしょうか、下記の解答群から選びなさい。
 ① 配線用遮断器
 ② 漏電遮断器
 ③ 電磁接触器
 ④ 漏電警報器

正解 ② 漏電遮断器

解説
 家庭用の電気回路に漏電が発生する主な原因は、電線がネズミなどにかじられたりして銅線が露出して、建築物や電気機器の外装ケースなどに接触したりした場合です。また、電気機器やコンセントや電線の接続部分が水に濡れることによって絶縁不良を起こした場合などもよくあります。このような漏電状態になると、その露出した部分や電気機器の外装ケースや濡れた電線などに人が触れると感電して危険です。もしこの時、漏電遮断器が設置してあれば、一瞬感電するだけで電流は遮断されます。
              


 選択肢の中にある「配線用遮断器」は、右の写真のような機器で、過電流が流れたことによる電気機器やケーブルが発熱したり焼けたりするのを防止するために設置されます。例えば、家庭用のコンセントでエアコンと電子レンジを同時に使った場合、回路に流れる電流が20A(アンペア)を大幅に超えたりすると、配線用遮断器が作動して、電気回路やコンセントへの電源供給を遮断します。この時は、電子レンジのスイッチを切ってから配線用遮断器のつまみを上げることで復旧できます。


 配線用遮断器は過電流のみですが、漏電遮断器は過電流と漏電の両方を検知できるところまで押さえておくと満点です。漏電遮断器と配線用遮断器は、見た目はよく似ていますが、前述のように、漏電遮断器にはテストボタンがついていることで迷うことなく判別できます。 なお、「電磁接触器」は、電磁石のon/off でスイッチのon/off を行うものです。単に電気回路の開閉を行うもので過負荷に対する保護がありません。選択肢にはありませんが、「電磁接触器」の機能に加え、過負荷保護が行えるように熱動形過負荷継電器(サーマルリレー:電流によって生ずる熱をバイメタルに加え、その膨張係数の差によって湾曲する作用で、接点の開閉を行うリレー)とを組み合わせたものを「電磁開閉器」(マグネットスイッチ)といいます。

 この問題は平成23年度の第2種電気工事士試験の問題です。この問題は、その中で材料選別といわれる問題です。電気工事に使用する機器の写真を見て、用途や名称を答える重要な分野の問題です。正解したあなたは電気のプロとしての能力があるとみました。本校の電気科でさらに深く学んで「電気工事のプロ」を目指しましょう。



第9問
(8月2日掲載)

  プリンタなどの印刷において表示される色について、シアン(青緑)とマゼンタ(赤紫)とイエロー(黄色)を減法混色によって混ぜ合わせると、理論上は何色になるか、下記の解答群から選びなさい。
 ① 青
 ② 赤
 ③ 黒
 ④ 緑
 ⑤ 白

正解 ③ 黒

解説
 ある色とある色を混ぜ合わして別の色を作ることを混色と言います。皆さんも美術の時間に、水彩絵の具の黄色に赤を混ぜてオレンジ色を作った経験をしたことがあると思います。これは最も身近な混色の例で、「減法混色」と呼ばれる混色方式です。
 少し専門的に言いますと、シアン(青緑:Cyan)、マゼンタ(赤紫:Magenta)、イエロー(黄色:Yellow)の3色を組み合わせて色彩を表現する方法を「減法混色」といいます。この減法混色では色を重ね合わせるごとに暗くなります。3色を等量で混ぜ合わせると黒色になり、主に印刷の用途に用いられます。減法混色の三原色は、「色料の三原色」と言われ、英語の頭文字からそれぞれCMYと略称されることもあります。
 これに対して、「加法混色」と呼ばれるものもあります。これは、色を表現する方法の一つで赤(Red)、緑(Green)、青(Blue)の3色を組み合わせて色彩を表現する方法で、この3色は「光の3原色」とも呼ばれ、色を重ねるごとに明るくなり、3つを等量に混ぜ合わせると白色になります。CRT(ブラウン管)ディスプレイや液晶ディスプレイなどの発色体が色を表現する場合によく用いられます。加法混色の三原色は、「色光の三原色」と言われることもあり、英語の頭文字から、それぞれRGBと略称されることもあります。
 下図のような絵を見たことがある人は多いはずで、色を混ぜ合わせると、様々な色を作り出せるということは多くの人がご存知です。ところが、混色の方式によって三原色が異なるということは、意外に理解されていない場合があるようです。

 この問題は平成26年度のITパスポート試験の問題です。この試験は、ITを利活用するすべての社会人・学生が備えておくべきITに関する基礎的な知識が証明できる国家試験です。正解したあなたはITのプロとしての能力があるとみました。本校の情報技術科でさらに深く学んで「情報技術のプロ」を目指しましょう。



第8問
(4月19日掲載)

次の方程式を解いてみてください。


正解 R1 = 7.34 R2 = 9.68 R3 = 21.01

解説


※補足
 このような未知数が3つある連立一次方程式は、中学校では勉強してないと思いますが、未知数が2つある連立方程式と同様に、代入法や消去法でも解くこともできます。参考までに両方とも解き方の一例を示します。
                   






 代入法で解いても消去法で解いても解説にあるような解き方をしても同じ答えになるのは当然ですが、あなたはどの解き方が好きですか ^^) 

 ちなみに、ここで出てきたR1、R2、R3はそれぞれ未知の電気抵抗を表し、「R1とR2の合成抵抗を計測したところ17.02[Ω]、R2とR3のそれは30.69[Ω]、R3とR1のそれは28.35[Ω]であるとき、R1~R3のそれぞれの電気抵抗値を求めなさい」という問題を解くときの式であると推察されます。
 解説にある解き方は、式の中にR1、R2、R3がサイクリック(cyclic:「循環」という意味)に現れていることに着目した巧妙な解き方と言ってもいいと思います。

 この問題は全科の生徒が受検できる計算技術検定2級の問題です。工業高校生にとって複雑な数値計算を正確に短時間で行うことは非常に大切です。この試験は、実際には電卓を使用して解答するので、電卓の正しい使い方や計算方法の合理化を身に付けるための検定試験です。正解したあなたはすでに工業高校生の基礎となる能力が備わっているとみました。本校でさらに深く学んで工業のスペシャリストを目指しましょう。



第7問

(4月12日掲載)

 公共工事で、橋やダムなど生活に必要なものをつくる場合、安心で安全、また、税金を使用するので経済的につくらなければなりません。
 そこで、断面二次モーメントという指標を用いてどのような形状にすべきなのかを考える必要があります。同じ断面積でも、形状によって性質が異なります。これを「断面二次モーメント」を使って算出して比べて適切なものを一つ選びなさい。
(1)幅6㎝、高さ12㎝の縦に長い長方形断面  (2)幅12㎝、高さ6㎝の横に長い長方形断面
ともに断面積は、6×12=72㎝

① 同じ断面積だと、縦長い形状のほうが強さと経済性を得られる。
② 同じ断面積だと、横長い形状のほうが強さと経済性を得られる。
③ 同じ断面積なので、縦長い形状でも横長い形状でも強さと経済性は変わらない。

※ これは公務員(専門職)の試験問題です。なかなか聞きなれない言葉が出てきて難しそうですが、下記のヒントを参考に頑張って解答してみてください(*^_^*)
 断面二次モーメントって実に名前がいかめしいですが、曲げモーメントに対するはり部材の変形のしにくさを表した量であり、以下の式で求めます。
   断面二次モーメントの公式「I = b(幅) × h(高さ)÷12」
 部材の断面を変えると、断面二次モーメントの値も変化するので、構造物の耐久性を向上させる上で、設計上の指標として用いられています。この問題は、「断面二次モーメントが大きい断面の部材は曲げに対して強い」という知識をもとに解くことになります。

正解 ① 同じ断面積だと、縦長い形状のほうが強さと経済性を得られる。

解説
 実際に断面二次モーメントを求めてみましょう。
  (1) I =b(幅) × h(高さ)÷12=6×12÷12=864㎝
  (2) I =b(幅) × h(高さ)÷12=12×6÷12=216㎝4 となります。
  (1)÷(2)=864÷216=4
 同じ断面積でも、縦長い形状と横長い形状では、縦長い方が4倍の強さを持つことが分かります。つまり、縦長い形状を用いると、強さと経済性が得られるということです。みなさんも色んな形で比べてみて下さい。
 もう一つ、不思議に感じたことはありませんか。㎝という単位です。これは、実際に目で見える量ではなく、計算上出てくる単位です。

補足
 橋などの構造物を建造する前には、設計の段階で色々な計算が行われます。特に、安全性の観点からは、部材がどのように変形しているかを探る計算が入念に行われます。(そのようなことを研究する学問を「構造力学」と言います)
 その際に、「力は目に見えないが変形なら目に見える」ということと「力と変形は比例する」(これは、理科1分野で学習する「フックの法則」として有名です)という2つが最も基本となる考え方となり、そこから様々な専門的な理論が広がっていきます。 
 ここで、部材の「曲げ」に対する強さを考えてみましょう。
 部材の「曲がりにくさ」は材料の性質によって決まります。ゴムよりも木の方が曲がりにくいですし、木よりも鉄の方が曲がりにくいですよね。それは材料定数(縦弾性係数とかヤング率とか呼ばれます)の違いで決定されます。では、他にはどのような要因が考えられるのでしょうか。そう!もうひとつは「断面の形状」です。同じ鉄でも断面積が大きければより曲がりにくい部材となるはずです。では、同じ材料で、同じ断面積なら曲げに対する強さはいつも同じになるのでしょうか?
 こういうことを突き詰めていくときに出てくる量がこの問題のポイントである「断面二次モーメント」です。これは、曲げに対する部材の変形のしにくさを表す量です。(その詳細をここで説明することは省略しますが、面積に距離を2回掛けた量です。面積自体が距離の二乗の単位を持っていますので、さらに2回掛けるので「距離の4乗」(㎝)という不思議な単位を持つ量になります)
 この問題は、「断面二次モーメントが大きい断面の部材は曲げに対して強い」という知識をもとに解いたわけですが、同じ断面積の部材でも曲げに対して強い、弱いがあるので、部材の形状を選ぶ際には断面二次モーメントを計算しておくなど注意が必要であるということを教えるものです。

 この問題は公務員(専門職)の問題です。この試験は土木に関する試験ですので、正解したあなたは公務員(専門職)のプロとしての能力があるとみました。本校の土木科でさらに深く学んで「土木のプロ」を目指しましょう。


第6問
(4月4日掲載)

 右の図で、40〔Ω〕の抵抗に5〔A〕の電流を10分間流したときに発生する熱量〔kJ〕はいくらか、選択肢の中から1つ選びなさい。
① 120 〔kJ〕
②   10 〔kJ〕
③     2 〔kJ〕
④ 600 〔kJ〕

※ これは電気科の生徒たちが受験するある国家試験に毎回のように出題されている問題ですが、中学理科1分野で学習する知識で解けます。
 電気回路の抵抗で発生する熱(「ジュール熱」といいます)は、抵抗に流れた電流がした仕事の量と考えられ、これを電力量と言います。電力と電力量の関係は、電力量(ジュール)=電力(ワット)×時間(秒)でしたよね。これがヒントです (^^) /

正解 ④ 600〔kJ〕

解説
 電力 P=V×I   電圧 V=I×R なので、
 電力 P=I×R×I=I×R
 発生熱量〔J〕=電力量W〔W・s〕=P×t=I×R×t=52×40×10×60=600000〔J〕=600〔kJ〕
 もう少し補足しますと、この問題は「エネルギー保存の法則」(あるエネルギーが別のエネルギーに変わってもエネルギーの総量は変化しないという法則)を踏まえておくと分かりやすいと思います。
 即ち、電流によって消費されたエネルギーは、熱のエネルギーに変わることがありますが、エネルギー保存の法則により、電流の消費した電気エネルギーと、電流によって発生した熱エネルギーとは等しい量であると考えてよいのです。
 つまり、電力量(電気エネルギー)=熱量(熱エネルギー)
 ということなんです。


 この問題は第2種電気工事士試験筆記問題の類似問題です。この試験は国家試験ですので、正解したあなたはプロの電気工事士としての能力があるとみました。本校の電気科でさらに深く学んで「電気のプロ」を目指しましょう。